西方经济学学习笔记 货币市场的均衡:LM曲线
来源:上海自考网
时间:2018-05-23 12:28:03
(一)LM曲线
LM曲线的含义
LM曲线是使得货币市场处于均衡的收入与均衡利息率的不同组合描述出来的一条曲线。换一句话说,在LM曲线上,每一点都表示收入与利息率的组合,这些组合点恰好使得货币市场处于均衡。
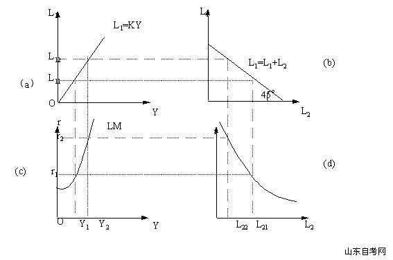
LM曲线的推导过程

币需求和货币供给变动对LM曲线的影响
当决定LM曲线的因素发生变动时,LM曲线的位置会发生变动。首先,如果货币的需求增加,既定的收入条件下市场均衡利息率升高,从而LM曲线向左上方移动。反之,当货币的需求减少时,既定收入下的市场均衡利息率下降,从而LM曲线向右下方移动。其次,如果货币的供给增加,既定收入对应的市场均衡利息率下降,从而LM曲线向右下方移动。反之,当货币的供给减少时,LM曲线向左上方移动。
欢迎关注“上海自考网”微信公众平台![]() (自考资讯,一手掌握!) |
欢迎加入“上海自考网”微信交流群![]() (扫码进群,领取《 |
8888人已通过
上海自考网免责声明:
(一)由于考试政策等各方面情况的不断调整与变化,本网站所提供的考试信息仅供参考,请以省考试院及院校官方发布公布的正式信息为准。
(二)本站文章内容信息来源出处标注为其他平台的稿件均为转载稿,免费转载出于非商业性学习目的,版权归原作者所有。如您对内容、版权等问题存在异议请与本站联系,我们会及时进行处理解决,联系邮箱:952056566@qq.com。







